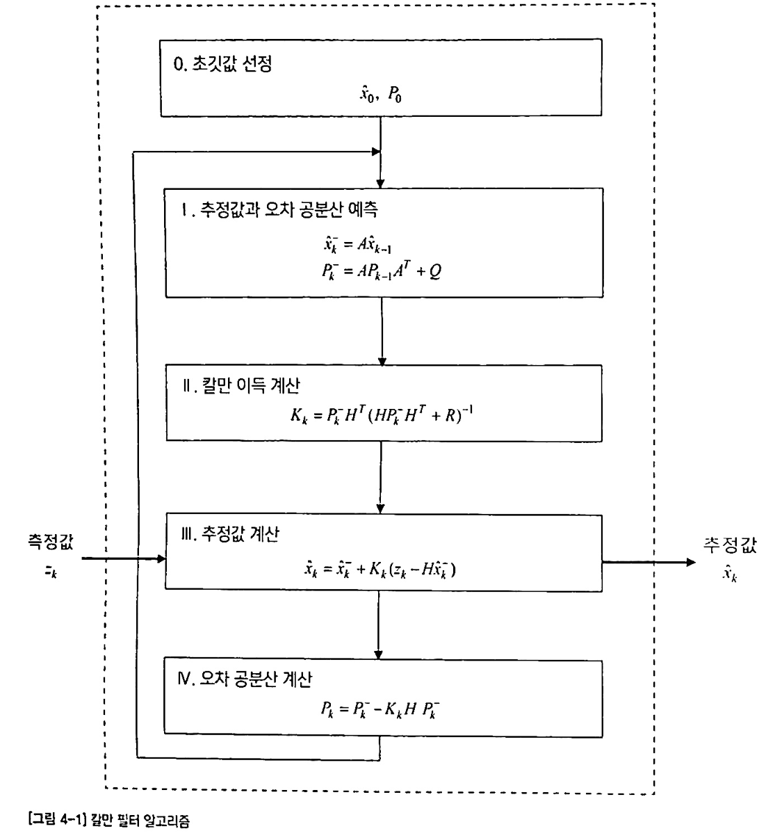
칼만필터는 어렵지 않아 정리
positioner(I/P)
strain gage
이메일 주소는 공개되지 않습니다. 필수 필드는 *로 표시됩니다
이름*
이메일*
웹사이트
댓글 알림 이메일 받기
새 글 알림 이메일 받기
Δ
이 사이트는 Akismet을 사용하여 스팸을 줄입니다. 댓글 데이터가 어떻게 처리되는지 알아보세요.